Product Summary
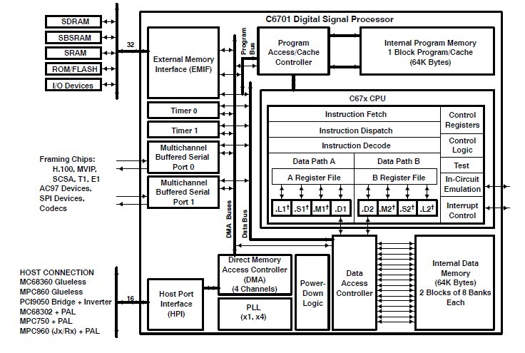
The TMS320C6701GJC16719V is a floating-point digital signal processor. It is is based on the high-performance, advanced VelociTI very-long-instruction-word (VLIW) architecture developed by Texas Instruments (TI), making this DSP an excellent choice for multichannel and multifunction applications. With performance of up to 1 giga floating-point operations per second (GFLOPS) at a clock rate of 167 MHz, the device offers cost-effective solutions to high-performance DSP programming challenges. The device DSP possesses the operational flexibility of high-speed controllers and the numerical capability of array processors. The TMS320C6701GJC16719V includes a large bank of on-chip memory and has a powerful and diverse set of peripherals.
Parametrics
TMS320C6701GJC16719V absolute maximum ratings: (1)Supply voltage range, CVDD: -0.3 V to 2.3 V; (2)Supply voltage range, DVDD: -0.3 V to 4 V; (3)Input voltage range: -0.3 V to 4 V; (4)Output voltage range: -0.3 V to 4 V; (5)Operating case temperature range, TC (Default): 0℃ to 90℃; (A Version): 40℃ to 105℃; (6)Storage temperature range, Tstg: -55℃ to 150℃.
Features
TMS320C6701GJC16719V features: (1)16-Bit Host-Port Interface (HPI): Access to Entire Memory Map; (2)Two Multichannel Buffered Serial Ports(McBSPs): Direct Interface to T1/E1, MVIP, SCSA Framers; ST-Bus-Switching Compatible; Up to 256 Channels Each; AC97-Compatible; Serial-Peripheral-Interface (SPI)Compatible (Motorola); (3)Two 32-Bit General-Purpose Timers; (4)Flexible Phase-Locked-Loop (PLL) Clock Generator; (5)IEEE-1149.1 (JTAG)Boundary-Scan-Compatible; (6)352-Pin Ball Grid Array (BGA) Package(GJC Suffix); (7)0.18-μm/5-Level Metal Process: CMOS Technology; (8)3.3-V I/Os, 1.8-V Internal (120-, 150-MHz); (9)3.3-V I/Os, 1.9-V Internal (167-MHz Only).
Diagrams

![]() |
![]() TMS3112 |
![]() Other |
![]() |
![]() Data Sheet |
![]() Negotiable |
|
||||
![]() |
![]() TMS3121 |
![]() Other |
![]() |
![]() Data Sheet |
![]() Negotiable |
|
||||
![]() |
![]() TMS320 |
![]() Other |
![]() |
![]() Data Sheet |
![]() Negotiable |
|
||||
![]() |
![]() TMS32010 |
![]() Other |
![]() |
![]() Data Sheet |
![]() Negotiable |
|
||||
![]() |
![]() TMS320AV7110 |
![]() Other |
![]() |
![]() Data Sheet |
![]() Negotiable |
|
||||
![]() |
![]() TMS320BC51PQ100 |
![]() Texas Instruments |
![]() Digital Signal Processors & Controllers (DSP, DSC) TMS320C51PQ - 132QFP - 100MHZ/BOOT CODE |
![]() Data Sheet |
![]() Negotiable |
|
||||
(China (Mainland))









