Product Summary
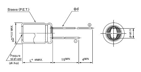
The UHD1E221MPD is a aluminum electrolytic capacitor.
Parametrics
UHD1E221MPD specifications: (1)Category Temperature Range: –40 ~ +105℃; (2)Rated Voltage Range: 6.3 ~ 50V; (3)Rated Capacitance Range: 22 ~ 6800μF; (4)Capacitance Tolerance: ±20% at 120Hz, 20℃; (5)Leakage Current: After 2 minutes application of rated voltage, leakage current is not more than 0.01CV or 3 (μA), whichever is greater.
Features
UHD1E221MPD features: (1)Lower impedance at high frequency range; (2)Smaller case size and high ripple current; (3)Adapted to the RoHS directive (2002/95/EC).
Diagrams

| Image | Part No | Mfg | Description | ![]() |
Pricing (USD) |
Quantity | ||||||||||||
|---|---|---|---|---|---|---|---|---|---|---|---|---|---|---|---|---|---|---|
![]() |
![]() UHD1E221MPD |
![]() Nichicon |
![]() Aluminum Electrolytic Capacitors - Leaded 25volts 220uF 8x11.5 20% 3.5LS |
![]() Data Sheet |
![]()
|
|
||||||||||||
| Image | Part No | Mfg | Description | ![]() |
Pricing (USD) |
Quantity | ||||||||||||
![]() |
![]() UHD1A101MDD |
![]() Nichicon |
![]() Aluminum Electrolytic Capacitors - Leaded 10volts 100uF 5x11 20% 2LS |
![]() Data Sheet |
![]()
|
|
||||||||||||
![]() |
![]() UHD1A102MPD |
![]() Nichicon |
![]() Aluminum Electrolytic Capacitors - Leaded 10volts 1000uF 8x20 20% 3.5LS |
![]() Data Sheet |
![]()
|
|
||||||||||||
![]() |
![]() UHD1A102MPD1TD |
![]() Nichicon |
![]() Aluminum Electrolytic Capacitors - Leaded 1000uF 10V 105c 8x20 |
![]() Data Sheet |
![]()
|
|
||||||||||||
![]() |
![]() UHD1A102MPD6 |
![]() Nichicon |
![]() Aluminum Electrolytic Capacitors - Leaded 10volts 1000uF 10x16 20% 5LS |
![]() Data Sheet |
![]()
|
|
||||||||||||
![]() |
![]() UHD1A102MPR |
![]() Nichicon |
![]() Aluminum Electrolytic Capacitors - Leaded 1000uF 10V 105c 8x20 |
![]() Data Sheet |
![]()
|
|
||||||||||||
![]() |
![]() UHD1A102MPR1TD |
![]() Nichicon |
![]() Aluminum Electrolytic Capacitors - Leaded 1000uF 10V 8x20 |
![]() Data Sheet |
![]() Negotiable |
|
||||||||||||
(China (Mainland))










