Product Summary
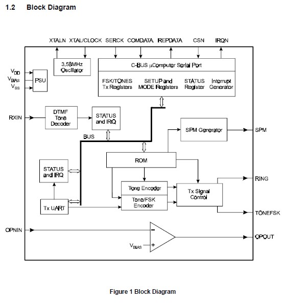
The CMX605D4 is an integrated telecom tone generator and DTMF encoder/decoder, which is designed for ISDN interfaces, Wireless Local Loop and Analogue to Digital Phone Conversion systems. The tone generator covers an extensive range of pre-programmed tones used in analogue phone systems (POTS). Three outputs of CMX605D4 are provided: ‘Ringing signals’, ‘In-band tones or FSK data’, and ‘12kHz/16kHz Metering pulses’. Simple software control facilitates the interface to a wide range of commonly used μCs and SLICs, enabling a comprehensive analogue telephone line presentation. The applications of the CMX605D4 include Digital Line to POTS Interface, Subscriber Terminal Adapters, Computer Telephony Integration, Telephone/Radio Patch Systems, Pair Gain Systems, Billing/SPM Systems.
Parametrics
CMX605D4 absolute maximum ratings: (1)Supply (VDD - VSS): -0.3 to 7.0 V; (2)Voltage on any pin to VSS -0.3 to VDD + 0.3 V; (3)Current into or out of VDD and VSS pins -50 to +50 mA; (4)Current into or out of any other pin -20 to +20 mA; (5)Total Allowable Power Dissipation at Tamb = 25℃: 800 mW, Derating: 13 mW/℃; (6)Storage Temperature: -55 to +125 ℃; (7)Operating Temperature: -40 to +85 ℃.
Features
CMX605D4 features: (1)Pre-Programmed Tone Generators; (2)Fully Integrated DTMF Decoder/Encoder; (3)SPM Generator; (4)Simple Serial Control Interface; (5)3.58MHz Xtal/Clock; (6)V23/Bell 202 FSK Generator; (7)Digital Ringing Voltage Generator.
Diagrams

![]() |
![]() CMX602A |
![]() Other |
![]() |
![]() Data Sheet |
![]() Negotiable |
|
||||||||||||
![]() |
![]() CMX602B |
![]() Other |
![]() |
![]() Data Sheet |
![]() Negotiable |
|
||||||||||||
![]() |
![]() CMX605 |
![]() Other |
![]() |
![]() Data Sheet |
![]() Negotiable |
|
||||||||||||
![]() |
![]() CMX608 |
![]() Other |
![]() |
![]() Data Sheet |
![]() Negotiable |
|
||||||||||||
![]() |
![]() CMX60D10 |
![]() Crydom |
![]() Solid State Relays PCB SIP SSR, 60Vdc 10A, 3-10Vdc In |
![]() Data Sheet |
![]()
|
|
||||||||||||
![]() |
![]() CMX60D20 |
![]() Crydom |
![]() Solid State Relays PCB SIP SSR, 60Vdc 20A, 3-10Vdc In |
![]() Data Sheet |
![]()
|
|
||||||||||||
(China (Mainland))









